-
Ball Bearings
- Slewing Ring
-
Roller Bearings
- Track Rollers
-
Housing Bearings
- Split Pillow Block Housing Set SNL2-1 (self-aligning ball bearing 12: sheet steel cage)
- Split Pillow Block Housing Set SNL2-2 (self-aligning ball bearing 12-TN: plastic cage)
- Split Pillow Block Housing Set SNL2-3 (self-aligning ball bearing 22: wide, sheet steel cage)
- Split Pillow Block Housing Set SNL2-4 (self-aligning ball bearing 22: wide, plastic cage)
- more (11)
Split Pillow Block Sets
-
Plain Bearings
-
Freewheels
- Special Material
-
Accessories
- Home
- Products
- Ball Bearings
- Deep Groove Ball Bearings
- Miniature Deep Groove Ball Bearings
- Axial Deep Groove Ball Bearings
- Self-Aligning Ball Bearings
- Angular Ball Bearings
- Spindle Bearings / High Precision Angular Ball Bearings
- Axial Angular Ball Bearing
- Single Thrust Ball Bearings
- Roller Bearings
- Tapered Roller Bearings
- Spherical Roller Bearings
- Cylindrical Roller Bearings
- Crossed Roller Bearings
- Axial Cylindrical Roller Bearings
- Axial Needle Roller Bearings
- Needle Roller / Angular Contact Ball Bearing
- Needle Roller / Axial Ball Bearings
- Needle Roller Bearings
- Needle Roller / Axial Cylindrical Roller Bearings
- Track Rollers
- Housing Bearings
- Plain Bearings
- Radial Spherical Plain Bearings - Requiring Maintenance
- Radial Spherical Plain Bearings - Maintenance Free
- Rod Ends - Requiring Maintenance
- Rod Ends - Maintenance Free
- Freewheels
- Accessories
- About Us
- Contact Us
- Blog
- Send Inquiry
- Sign in
- Home >
- Accessories >
- VA- and Radial Shaft Seals >
- Radial Shaft Seals BA >
- W-BA-32-47-8.5
Technical Scribble
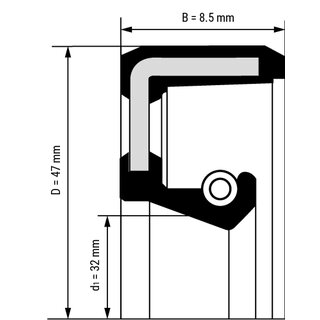
Radial Shaft Seal BA 32x47x8.5 mm
The shaft seal W-BA-32-47-8.5 reliably seals the shaft and the adjacent construction. The recessed tension spring ensures a tight fit.
Technical Data
| Inside (mm): | 32 |
| Outside (mm): | 47 |
| Width (mm): | 8.5 |
| Lip Seals: | 1 |
| Temperature Resistance: | -30 to +100 ℃ |
| Ring Material: | Nitrile Rubber (NBR) |
| Product weight: | 0,0120 kg |
Item number: W-BA-32-47-8.5
If your demand is large, please contact us for quotation and delivery time.
Delivery time:3 to 7 business day
$ 2.75
pcs
Technical Scribble
Technical Data
| Inside (mm): | 32 |
| Outside (mm): | 47 |
| Width (mm): | 8.5 |
| Lip Seals: | 1 |
| Temperature Resistance: | -30 to +100 ℃ |
| Ring Material: | Nitrile Rubber (NBR) |
| Product weight: | 0,0120 kg |
